Probleme ștergător și spritiera
Probleme ștergător și spritiera
Salutare, am cumpărat de curând un Mini R 53 și după multă munca de aducere in simțiri, ma lovesc de o problema. Nu merg spalatoarele de la faruri, ștergătorul spate și spritiera aferentă. In primul rând, cu referire la spalatoare, in afara de a pulveriza apa pe parbriz ar mai trebui sa fac și altceva pentru a le porni ? Despre ștergător și spritiera nici nu știu de unde sa apuc.
Re: Probleme ștergător și spritiera
Spalatorul de faruri porneste dupa mai multe actionari al celui de parbriz, ca altfel s-ar consuma lichidul in cativa km.
Verifica si sigurantele.
Verifica si sigurantele.
Real motors need forced induction
Nobody's perfect but if you drive a MINI Cooper F54 with B47 engine ,you're pretty damn close
Petrol is for cleaning tools, with Diesel we make Power
Nobody's perfect but if you drive a MINI Cooper F54 with B47 engine ,you're pretty damn close
Petrol is for cleaning tools, with Diesel we make Power
Re: Probleme ștergător și spritiera
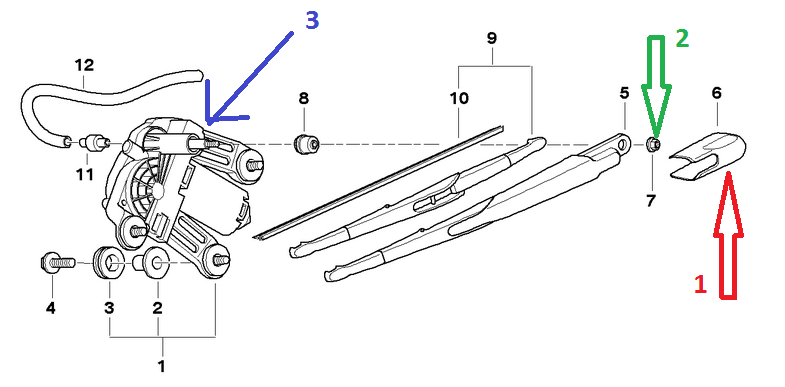
desfa capacul ce acopera "ștuțul" ..... cu siguranta este infundat.CatalinRO scrie: Despre ștergător și spritiera nici nu știu de unde sa apuc.
urmezi 1 - 2 -3
Drive safe and keep the wheels down
Re: Probleme ștergător și spritiera
Am verificat toate siguranțele cu aparatul de măsura și toate par Ok, am dat cu apa pe parbriz de 20 de ori și nimic. Diuza nu e înfundată, sau nu pare a fi nici ștergătorul de la luneta nu face nimic.
- dedant68
- Viteza 6
- Mesaje: 643
- Membru din: Mar Noi 28, 2017 8:09 pm
- Localitate: Craiova, Voinesti(DB), Targoviste, Plymouth(United Kingdom)
- Contact:
Re: Probleme ștergător și spritiera
Verifica si releele de comanda a motorului pompei de spalare, vezi schema electrica releul K6 pentru faruri si K119 pentru pompa spate. Sunt plasate in compartimentul interior unde sunt sigurantele fuzibile si in spatele lor, nu in compartimentul motorului.
